Der Schweißmutter ist eine Mutter, die zum Schweißen außerhalb der Mutter geeignet ist.Es besteht im Allgemeinen aus schweißbaren Materialien und ist zum Schweißen geeignet.Das Schweißen entspricht dem Zusammenfügen zweier separater Teile zu einem Ganzen, bei dem ein Metall bei hoher Temperatur zusammengeschmolzen und dann abgekühlt wird. In der Mitte wird eine Legierung zusammengefügt. Das Innere ist eine Funktion der molekularen Kraft, deren Intensität im Allgemeinen größer ist als die Mutterfestigkeit.Die Prüfung der Schweißparameter muss auf der Schmelzgröße der Schweißnaht basieren und die Schweißparameter entsprechend der Schmelzgröße anpassen, bis die Mängel beseitigt sind.Natürlich hängt die Schweißqualität von der Behandlung vor dem Schweißen, der Reinigung von Asche, Ölflecken usw. ab. Schweißmuttern bestehen aus mehr Material als andere Muttern, sodass die Mutter;Die Form bleibt auch nach dem Anschweißen an ein anderes Objekt erhalten.
Fertigungsingenieurin
Wird das Material der Werkstücke (gleich oder unähnlich) durch Hitze oder Druck oder beides und mit oder ohne Füllmaterialien geschweißt und so das Material des Werkstücks hergestellt und eine dauerhafte Verbindung zwischen atomaren Prozessen hergestellt, geschweißte Muttern sind Befestigungselemente mit Innengewinde, die mit Bolzen verwendet werden.Ein mechanisches Teil mit Innengewinde, das in Verbindung mit einer Schraube zur Übertragung von Bewegung oder Kraft verwendet wird.
Schweißmutterausführungen
Die Konstruktion von Schweißmuttern basiert auf Größe, Form, Dicke und Konfiguration.Diese industriellen Verbindungselemente werden auf ein anderes Metallstück geschweißt und können Lücken oder Nähte überbrücken.Eine Schweißmutter kann in begrenzten oder begrenzten Bereichen verwendet werden.Der Sechskant-Schweißmutter Das Design eignet sich ideal für schwere Anwendungen, während eine Laschenmutter typischerweise für leichtere Arbeiten verwendet wird.Eine rechtwinklige Schweißmutter wird am Grundmaterial befestigt und erzeugt ein Gewindeloch senkrecht zum Grundmaterial.
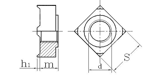
Größentabelle für Schweißmuttern
| d | P | h1 | m | S | |
| max | Mindest | ||||
| M4 | 0.7 | 0.7 | 0.5 | 3.5 | 7 |
| M5 | 0.8 | 0.9 | 0.7 | 4.2 | 9 |
| M6 | 1 | 0.9 | 0.7 | 5 | 10 |
| M7 | 1 | 0.9 | 0.7 | 5.5 | 11 |
| M8 | 1/1,25 | 1.1 | 0.9 | 6.5 | 14 |
| M10 | 1/1,25/1,5 | 1.3 | 1.1 | 8 | 17 |
| M12 | 1,25/1,5/1,75 | 1.5 | 1.3 | 9.5 | 19 |
| M14 | 1,5/2 | 1.5 | 1.3 | 11 | 22 |
| M16 | 1,5/2 | 1.7 | 1.5 | 13 | 24 |
Inhalt ist leer!
| | Adresse: Zone 4B-D, Kreuzung Fenghuang Road und Qishen Road, Stadt Fengqiao, Bezirk Nanhu, Stadt Jiaxing, Provinz Zhejiang, China 314001. |
| | Mobil/Wechat/WhatsApp: +86-18969301697 |
| | 24h |
| E-Mail:Alan@goshengroup.cn |